ficha-tecnica
CFMoto 650 GT
Precio de la CFMoto 650 GT: 39.990.000 COP
*Los precios, las especificaciones y demás datos suministrados pueden modificarse en cualquier momento. Los precios no incluyen costos de matrícula, SOAT e impuestos de rodamiento. Toda la información suministrada es meramente informativa e ilustrativa y se encuentra sujeta a cambios y modificaciones sin previo aviso y por ende NO constituye una oferta comercial ni se puede asimilar a ella. Regirán las condiciones vigentes al momento de la negociación. Para mayor información y para conocer el equipamiento definitivo del vehículo, el precio y las versiones disponibles en Colombia consulte un asesor comercial o un distribuidor autorizado.
Diseño
Tiene la altura ideal para sentirse integrado a la moto por su comodidad. Combina potencia y estilo. Parabrisas con diseño aerodinámico, ajustable manualmente hasta 60 mm.
Seguridad
Cuenta con suspensión ajustable KYB delantera y trasera que reduce las vibraciones y frenos ABS Continental.
Tecnología
Pantalla display full color TFT, con indicadores precisos y que se adaptan a las condiciones de luz con un modo especial para conducción nocturna. Tiene puerto USB de 12 voltios para cargar dispositivos. La 650GT integra dos modos de manejo: Touring y Sport.
Actualidad
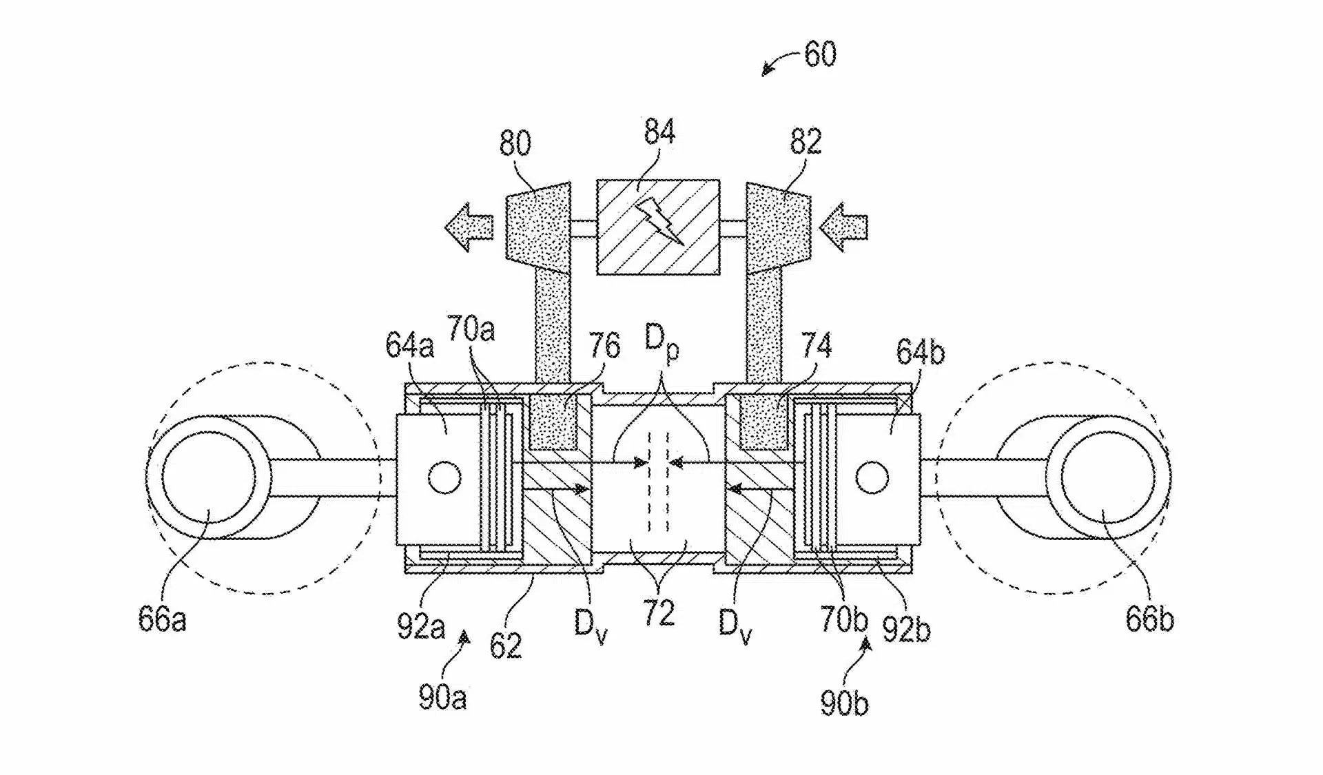
Royal Enfield se adelanta al mercado y patenta su próxima moto eléctrica
Royal Enfield registró la patente de su próxima moto eléctrica tipo scrambler antes del lanzamiento. Analizamos qué revela este movimiento, cómo sería el modelo y qué impacto tendría en el mercado.
Royal Enfield vuelve a enviar un mensaje claro a la industria, la electrificación no es una posibilidad lejana, sino un proyecto en marcha y cuidadosamente planificado. Antes de cualquier presentación oficial, la marca de origen británico-indio registró la patente de lo que sería su próxima moto eléctrica, una scrambler compacta conocida internamente como FF.S6.
Este movimiento, lejos de ser anecdótico, confirma que Royal Enfield está siguiendo una estrategia cada vez más común entre los grandes fabricantes: blindar el diseño y la tecnología antes de mostrar el producto al público, especialmente en un segmento tan competitivo como el de las motos eléctricas.
Una patente que revela más de lo que parece

Lea: Harley-Davidson rompe el silencio y deja ver su próxima moto
Las imágenes de la patente dejan ver una motocicleta eléctrica con claras influencias scrambler, un estilo que Royal Enfield domina con soltura en su gama a combustión. El diseño muestra una moto compacta, con neumáticos mixtos, posición de manejo erguida y una estética robusta que recuerda a modelos como la Scram 411, pero reinterpretada para la era eléctrica.
Aunque los documentos no detallan cifras técnicas definitivas, sí permiten identificar elementos clave:
- Un chasis simple y ligero, pensado para uso urbano y periurbano.
- Un basculante trasero convencional, lo que sugiere una puesta a punto enfocada en costos y durabilidad.
- Un sistema de transmisión eléctrica integrado de forma discreta, manteniendo una silueta “tradicional”.
Con la FF C6 y la FF S6, se espera que el rendimiento general esté muy cerca del de una motocicleta de gasolina de 250 cc a 350 cc. Ambas bicicletas tienen un motor eléctrico montado en el centro. El C6 utiliza una transmisión por correa, mientras que el codificador utiliza una configuración de transmisión por cadena. No se han revelado detalles sobre el sistema de propulsión eléctrico.
La autonomía de estas bicicletas podría oscilar entre 100 y 150 km. El kit técnico podría incluir funciones como Bluetooth, funciones conectadas mediante emparejamiento de teléfonos inteligentes y navegación paso a paso.


¿Por qué patentar antes de lanzar?
Desde el punto de vista industrial y comercial, patentar antes del lanzamiento cumple varios objetivos estratégicos. En primer lugar, protege el diseño y las soluciones técnicas frente a competidores, especialmente en mercados donde la copia rápida es una amenaza real.
En segundo lugar, envía una señal clara al mercado y a los inversionistas: el proyecto existe, avanza y tiene respaldo interno. Para Royal Enfield, que ha sido históricamente cautelosa con la electrificación, este paso marca un antes y un después.
Además, la patente permite a la marca probar reacciones sin necesidad de anunciar fechas ni especificaciones finales, manteniendo margen de maniobra antes del lanzamiento definitivo.
El contexto de la moto eléctrica de Royal Enfield
Royal Enfield no está improvisando. En 2022, la compañía anunció oficialmente la creación de Flying Flea, su submarca eléctrica, con la que busca desarrollar motocicletas cero emisiones inspiradas en modelos históricos pero adaptadas al uso moderno.

La FF.S6 encajaría perfectamente en esta estrategia, una moto eléctrica pensada para el día a día, con estética atractiva y prestaciones suficientes para ciudad y trayectos cortos, sin aspirar a cifras extremas de potencia o autonomía.
Esto resulta especialmente relevante para mercados emergentes como India y América Latina, donde la accesibilidad económica y la confiabilidad pesan más que las cifras récord.
Una jugada que marca tendencia
Con esta patente, Royal Enfield deja claro que no piensa llegar tarde a la electrificación, pero tampoco renunciar a su ADN. El registro anticipado de su próxima moto eléctrica no solo protege un diseño: confirma una estrategia clara y progresiva hacia el futuro.



Amplía: Cuando todos apostaban por lo eléctrico, el motor 2T reaparece
En PubliMotos estaremos atentos a cualquier novedad, porque si algo nos ha enseñado Royal Enfield es que, cuando mueve ficha, lo hace con intención. Y está vez, la electricidad es la protagonista.
Les dejamos el siguiente video propio como recomendación:
Hecho por periodistas, con uso de IA
Actualidad
Harley-Davidson rompe el silencio y deja ver su próxima moto
Harley-Davidson vuelve a generar expectativa global tras publicar un teaser oficial de su próxima moto. Analizamos qué se sabe, qué se intuye y por qué este adelanto podría marcar un nuevo rumbo para la marca estadounidense.
Harley-Davidson sabe cómo crear expectativa. Cuando la marca de Milwaukee decide hablar, incluso sin decir demasiado, el mundo de las motos se detiene a escuchar. Esta vez no fue diferente. A través de un teaser oficial, la firma estadounidense dejó ver apenas unas líneas, sombras y detalles de lo que sería su próximo modelo, desatando especulación, análisis y debate entre fanáticos, expertos y medios especializados.
Analizamos lo que realmente muestra este adelanto, qué pistas ofrece y por qué podría tratarse de una pieza clave dentro de la estrategia futura de Harley-Davidson, en un contexto donde el mercado global está cambiando más rápido que nunca.
Un teaser que dice poco… pero sugiere mucho
El video publicado por Harley-Davidson, dura apenas unos segundos, pero está cargado de intención. No hay cifras, no hay nombres oficiales ni especificaciones técnicas. Sin embargo, eso no es casualidad.
Lea: Cuando todos apostaban por lo eléctrico, el motor 2T reaparece
En el breve adelanto se distinguen, un frontal musculoso, con una silueta más agresiva que la de una cruiser tradicional. Vemos también unas líneas tensas en el tanque, que sugieren un diseño moderno, posiblemente más deportivo. Y, por último, resaltamos una iluminación LED minimalista, coherente con los últimos lanzamientos de la marca.
Este tipo de comunicación no es nueva para Harley-Davidson. La marca ya ha utilizado esta estrategia en el pasado, especialmente antes del lanzamiento de modelos clave como la Pan America, la Sportster S o la LiveWire, que marcaron rupturas importantes con su tradición más conservadora.
¿Estamos ante una nueva familia de motos?
Uno de los puntos más interesantes de este teaser es que no parece encajar del todo en ninguna de las familias actuales de Harley-Davidson. No luce como una touring clásica, tampoco como una softail tradicional ni como una simple evolución de modelos existentes.
Esto abre varias posibilidades:
Una nueva naked de alto rendimiento
Harley ha demostrado con la Sportster S que puede competir fuera de su zona de confort. Un modelo naked, con ergonomía más agresiva y enfoque urbano-deportivo, tendría sentido para atraer a un público más joven.

Una evolución eléctrica o híbrida
Aunque el teaser no confirma electrificación, el precedente de LiveWire y la presión regulatoria global hacen pensar que Harley podría estar preparando algo más avanzado tecnológicamente.
Una reinterpretación de su ADN
Otra opción es que estemos frente a una moto que conserve el espíritu Harley “motor grande, carácter fuerte” pero con un diseño completamente actualizado, más cercano a lo que exige el mercado actual.
Harley-Davidson en plena transformación

Para entender la importancia de este teaser, hay que mirar el panorama completo. Harley-Davidson lleva varios años inmersa en un proceso de redefinición estratégica, impulsado por tres factores clave:
- Cambio generacional: Los nuevos motociclistas buscan tecnología, rendimiento y versatilidad, no solo tradición.
- Competencia global: Marcas europeas y asiáticas han ganado terreno en segmentos donde Harley antes no competía.
- Regulaciones ambientales: Las normativas de emisiones obligan a replantear motores, plataformas y conceptos.
En ese sentido, cada nuevo modelo ya no es solo una moto más: es una declaración de intenciones. Por eso, incluso un teaser aparentemente simple genera tanto ruido.
¿Cuándo y para quién sería esta nueva moto?
Aunque la marca no ha dado fechas oficiales, todo apunta a que el modelo completo podría revelarse en algún gran evento internacional de 2025, como EICMA o un showcase propio de Harley-Davidson.

En cuanto al público objetivo, el teaser sugiere claramente que:
- No está pensada solo para el harlista tradicional.
- Busca conectar con motociclistas que valoran diseño, tecnología y carácter.
- Podría ser clave para mercados fuera de Estados Unidos, donde Harley necesita crecer.
¿Qué esperar en motos de Harley-Davidson?
La fecha importante es el 15 de enero, teniendo en cuenta lo más seguro es que sigan creciendo su familia Cruisers. Veremos la marca cambiar su objetivo, Harley-Davidson ya no puede vivir solo de la nostalgia. Y lo más interesante es que parece haberlo entendido con la nueva moto.

Amplía: ¿La deportiva más inesperada? Así es la moto Kove 350R que llega al mercado
Si esta nueva moto logra equilibrar identidad, innovación y desempeño, podría convertirse en uno de los lanzamientos más importantes de la firma en la última década.
Por ahora, solo tenemos sombras, líneas y muchas preguntas. Pero en el mundo de las motos, a veces eso es suficiente para encender la conversación global.
Les dejamos el siguiente video propio como recomendación:
Hecho por periodistas, con uso de IA
Actualidad
Cuando todos apostaban por lo eléctrico, el motor 2T reaparece
Cuando parecía que el futuro de las motos estaba escrito en clave eléctrica, el motor 2 tiempos vuelve a generar debate. Nuevas tecnologías, regulaciones y apuestas industriales podrían traer de regreso al mítico 2T.
Durante años, el discurso parecía cerrado. La industria de la motocicleta avanzaba sin mirar atrás: electrificación, motores 4 tiempos cada vez más eficientes y normativas ambientales más estrictas. En ese escenario, el motor 2 tiempos (2T) fue relegado al recuerdo, asociado al ruido, al humo azul y a una era supuestamente incompatible con el presente. Sin embargo, algo está cambiando. Y no es menor.
El motor 2T, de villano ambiental a joya tecnológica
Durante décadas, el motor 2T fue sinónimo de ligereza, respuesta inmediata y potencia específica elevada. Dominó disciplinas como el motocross, el enduro y la competición urbana, pero también se ganó mala fama por su alto consumo y emisiones contaminantes, especialmente por la quema de aceite junto al combustible.

Amplía: Esta es la moto que más vende Yamaha en el mundo y se renueva
Las normativas Euro y EPA fueron implacables. Mientras los motores 4T evolucionaban con inyección electrónica, válvulas variables y catalizadores, el 2T quedó fuera del juego… al menos en apariencia.
Hoy, según varias fuentes, nuevos desarrollos tecnológicos están replanteando esa condena definitiva. Y lo hacen desde un enfoque muy distinto al del pasado.
Inyección directa, la clave que lo cambia todo
El talón de Aquiles del motor 2T siempre fue el mismo, la mezcla aire-combustible se perdía parcialmente por el escape, generando emisiones elevadas. Pero la inyección directa cambia radicalmente este escenario.
Este sistema permite que el combustible se inyecte directamente en la cámara de combustión, una vez cerradas las lumbreras, reduciendo de forma drástica las pérdidas y la contaminación. Marcas como KTM ya demostraron que esto no es teoría, sus motores TPI (Transfer Port Injection) marcaron un antes y un después en el enduro moderno.

Ahora, el debate va más allá: ¿puede esta tecnología llevar al 2T de vuelta a un uso más amplio, incluso fuera del off-road?
¿Por qué el motor 2T vuelve a ser relevante hoy?
En plena transición energética, la industria enfrenta un dilema complejo. Las motos eléctricas avanzan, sí, pero siguen teniendo retos importantes… peso elevado, costos altos, autonomía limitada y falta de infraestructura en muchos mercados.
En ese contexto, el motor 2T reaparece como una alternativa ligera, compacta y sorprendentemente eficiente si se combina con tecnología moderna. Un 2T actualizado puede ofrecer:
- Menor peso total del conjunto
- Menos piezas móviles que un 4T
- Costos de producción potencialmente más bajos
- Excelente relación potencia-peso
No se trata de nostalgia. Se trata de ingeniería aplicada a nuevas necesidades.

La industria observa… y experimenta
Aunque ninguna gran marca ha confirmado oficialmente el regreso del 2T a modelos de calle masivos, los movimientos en la sombra existen. Fabricantes europeos y asiáticos siguen investigando soluciones híbridas, combustibles sintéticos y sistemas de lubricación independientes que reduzcan aún más el impacto ambiental.
Desde el ámbito académico y técnico, varias patentes apuntan a motores compactos de combustión interna pensados como alternativa o complemento a lo eléctrico, especialmente en mercados emergentes donde la movilidad debe ser accesible y robusta.
Como señalan varias fuentes, el motor 2T no pretende reemplazar al eléctrico, sino ocupar un espacio intermedio que hoy no está del todo cubierto.
¿Podría el 2T volver a las calles?

Aquí está el verdadero desafío. Más allá de la tecnología, el regreso del motor 2T depende de tres factores clave:
- Normativas ambientales: cualquier regreso debe cumplir estándares Euro 5 o superiores.
- Aceptación del mercado: el usuario moderno exige eficiencia, fiabilidad y bajo mantenimiento.
- Estrategia de marca: apostar por el 2T implica ir contra una narrativa instalada durante años.
Sin embargo, la historia del motociclismo nos ha enseñado algo: cuando una tecnología ofrece ventajas reales, siempre encuentra su camino.
Entre la nostalgia y el futuro
En PubliMotos creemos que el posible regreso del motor 2 tiempos no es una simple anécdota ni una provocación romántica. Es el reflejo de una industria que busca soluciones reales en un momento de transición profunda.
Mientras todos miraban hacia lo eléctrico como única salida, el motor 2T reaparece en escena con una propuesta distinta: más inteligente, más limpia y adaptada a los tiempos actuales.

Lea: ¿La deportiva más inesperada? Así es la moto Kove 350R que llega al mercado
Tal vez no vuelva a dominar como antes. Tal vez no lo veamos en todas las vitrinas. Pero lo cierto es que el 2T se niega a desaparecer, y su historia, lejos de terminar, parece estar escribiendo un nuevo capítulo.
Les dejamos el siguiente video propio como recomendación:
Hecho por periodistas, con uso de IA
-
Actualidad6 días atrasNi moto ni scooter, la bestia italiana de 48 Hp que rompe las reglas
-
Actualidad5 días atras¡El regreso que se esperaba! Buell entrega la moto Super Cruiser
-
Actualidad5 días atras¿Comprarías una Suzuki GSX-R1000 retro? Este diseño lo explica todo
-
Actualidad4 días atrasCFMoto mejora su moto trail, con componentes de gama estilo BMW
-
Actualidad5 días atras¡No es una réplica! Aparece la moto Honda CB1100R original de 1983 en venta
-
Actualidad4 días atras¡SOAT en Colombia! Entre la protección obligatoria y un sistema agrietado por la corrupción
-
Actualidad3 días atrasSuzuki mezcla fantasía y enduro en una moto DR-Z. ¿Cómo será?
-
Actualidad3 días atras¡La Ducati más radical de calle! La moto XDiavel V4 ya es oficial. ¿La veremos?