ficha-tecnica
Suzuki Gixxer 150 ABS
Precio de la Suzuki Gixxer 150 ABS: 10.997.000 COP
Precio de venta sugerido al público incluido impuestos (IVA e Impoconsumo, si aplica) para la motocicleta Gixxer 150 FI ABS modelo 2024 en todo el país, no incluye SOAT ni matrícula.
Actualidad
¿Regresa la VFR? Honda trabaja en una nueva moto ‘V4’ que entusiasma
Honda podría estar trabajando en una nueva moto V4, lo que entusiasma a los fanáticos de la legendaria VFR. Con las primeras patentes filtradas y una rica historia de motores en V, este regreso podría marcar una nueva era para la marca japonesa. En Publimotos te contamos lo que sabemos.
Las siglas VFR han representado durante décadas uno de los emblemas más icónicos de Honda dentro de las motos sport-tourer y deportivas de alto nivel. Esta familia, caracterizada por sus motores en configuración V4. Una arquitectura que combina potencia, suavidad y un perfil compacto ideal para motos deportivas. Esta configuración supo conquistar a los motociclistas desde su llegada en los años 80 con la VFR750F.
Tras años de silencio en ese segmento, con la VFR800F siendo descontinuada y la marca enfocándose en otras configuraciones más “mainstream”. Nuevas patentes filtradas han puesto nuevamente el foco en un posible renacimiento de la VFR con un motor V4 totalmente nuevo. Esto ha generado expectativa entre aficionados y expertos de la industria.
Una historia de innovación: los motores V4 de Honda

Lea: ¡ATENCIÓN! Hay pista de lo que sería la nueva KTM RC450. ¿Qué sabemos?
Antes de hablar del futuro, es útil recordar el prestigio de los motores V4 de Honda. Estos propulsores hicieron su aparición en las líneas VF y VFR desde principios de los años 80. Ofrecían un equilibrio excepcional entre potencia y suavidad de entrega, gracias al diseño de cuatro cilindros en configuración V. Esto reduce vibraciones y permite un motor más compacto comparado con un inline four.
Clásicos que marcaron época
- Honda VFR750F: Lanzada en 1986, fue una de las primeras VFR con motor V4 y rápidamente se ganó la reputación de ser una moto versátil tanto para carretera como para turismo ligero.
- Honda VFR800F (Interceptor): Evolución directa de la 750, con un motor de 781 cc y mejoras continuas a lo largo de los años, incluyendo tecnologías como VTEC y sistemas avanzados de frenado.
- Honda VFR1200F: Con una cilindrada de 1.237 cc, introdujo innovaciones como la transmisión de doble embrague (DCT) y nuevas tecnologías de control electrónico.
Estas motos no solo representan la historia técnica de Honda, sino también la fidelidad de un nicho de riders que valoran motores con carácter propio.

¿Qué revelan las patentes más recientes de Honda?
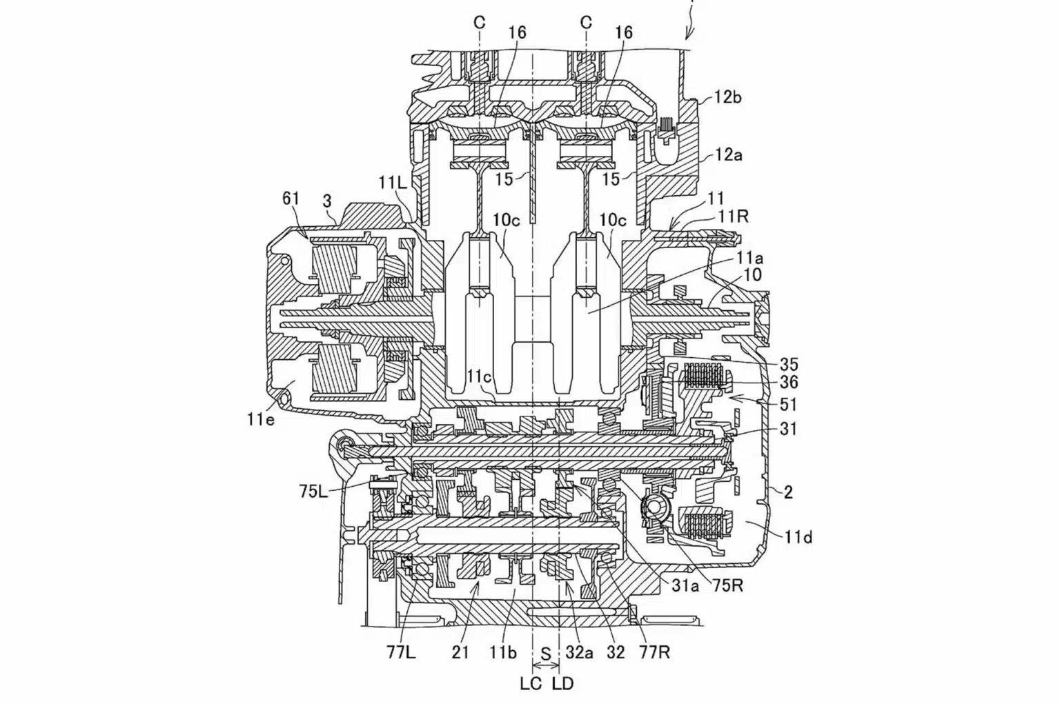
Recientes documentos de patentes que han salido a la luz muestran que Honda está desarrollando un nuevo motor V4. Las características apuntan a una arquitectura pensada específicamente para producción y no solo un ejercicio conceptual.
Según estas patentes:
- El motor tendría una configuración compacta y cercana a los 90°, típica de los V4 clásicos, lo que favorece suavidad y equilibrio.
- Se han incluido soluciones modernas de lubricación interna, con depósitos auxiliares de aceite para reducir pérdidas por fricción y optimizar el rendimiento.
- El enfoque en la refrigeración del bloque trasero sugiere un diseño actualizado que podría mejorar la durabilidad y eficiencia térmica del propulsor.
- En las ilustraciones también se observa la ausencia de transmisión por cardán. Esto indica que Honda podría optar por una cadena convencional en la nueva moto, probablemente para reducir peso y costo.
Estos detalles no solo muestran la intención de Honda de volver a explorar la configuración V4. Además, sugieren que el proyecto está más avanzado que simples bocetos conceptuales.

¿Qué significaría ver una nueva VFR?
Un retorno de la VFR con motor V4 no sería solo un ejercicio nostálgico. Sería una respuesta directa a la demanda de muchos motociclistas que consideran que Honda ha dejado un vacío en su catálogo desde que retiró su última VFR de producción regular.
Desafíos técnicos y estratégicos
Crear un motor V4 moderno y viable implica retos importantes. Esto es más relevante en tiempos donde las regulaciones ambientales se han endurecido en mercados globales como Europa (normativas Euro5 y futuras). Este escenario ha sido uno de los factores que llevó a Honda a retirar progresivamente sus modelos V4 del catálogo de producción masiva, pese a su legado y calidad técnica.
Además, el mercado actual tiende a favorecer configuraciones más sencillas o económicas. Esto hace que la inversión en un motor V4 sea más arriesgada desde un punto de vista comercial frente a competidores que optan por plataformas más convencionales.




Amplía: ¡Caos vial en Bogotá! Denuncian crisis semafórica que pone en riesgo vidas
¿Veremos realmente una Honda VFR?
La posible recuperación de la Honda VFR con un nuevo motor V4 representa una noticia emocionante para los fanáticos de las motos deportivas y sport touring. Las patentes recientemente filtradas sugieren que Honda está explorando una arquitectura V4 completamente nueva. Los detalles técnicos buscan combinar rendimiento, eficiencia y un carácter distintivo para futuros modelos.
En PubliMotos, continuaremos monitoreando estas filtraciones y desarrollos para mantenerte informado. Queremos mostrarte cómo Honda podría reescribir su historia con una VFR renovada que combine tradición y tecnología.
Les dejamos el siguiente video propio como recomendación:
Hecho por periodistas, con uso de IA
Actualidad
Bogotá destinará más de $9 billones a movilidad en 2026, detalles del gran presupuesto
El Concejo de Bogotá aprobó un presupuesto distrital de $40,4 billones para 2026, con una asignación histórica de más de $9 billones para movilidad, que incluye obras viales y proyectos estratégicos para mejorar el tránsito, la motocicleta y la infraestructura urbana. En Publimotos te contamos cómo se distribuirán estos recursos y qué significa para la movilidad de la ciudad.
El Concejo de Bogotá aprobó recientemente el Presupuesto Distrital para 2026, con un monto total de $40,4 billones de pesos. Esta cifra representa una apuesta significativa por el desarrollo de la ciudad en múltiples frentes. Entre las prioridades destacadas está el sector de movilidad, que recibirá $9,2 billones para avanzar en obras estratégicas, infraestructura vial, transporte público y programas. Estos buscan aliviar los constantes desafíos de movilidad que enfrentan los bogotanos, incluida la gran comunidad de motociclistas.
En PubliMotos, como medio especializado en movilidad y temas urbanos, analizamos en detalle cómo está estructurado el presupuesto. Observamos qué proyectos clave están contemplados para 2026 y qué significa esta inversión para el día a día de quienes transitan por Bogotá.
¿Cómo se distribuyen los más de $40 billones aprobados para Bogotá?

Amplía: Bajaj llegaría a Colombia con nuevos modelos Pulsar este 2026. Les decimos cuáles son
La estructura del presupuesto 2026 evidencia una priorización en inversión social y proyectos de largo alcance, con énfasis en movilidad, educación y salud. Según datos oficiales, estos tres sectores concentran más de la mitad de los recursos aprobados:
- Movilidad: $9,2 billones (22,7 %)
- Educación: $9,1 billones (22,5 %)
- Salud: $5,3 billones (13,0 %)
- Integración social: $2,6 billones
- Hábitat, Gobierno y Hacienda: alrededor de $5,3 billones combinados
- Otros sectores: $9 billones, que incluyen cultura, deporte, seguridad, ambiente, entre otros.
Esta distribución muestra que la movilidad se consolida como uno de los pilares de la ejecución presupuestal para 2026. Es un reconocimiento de la importancia de abordar los retos viales y garantizar un tránsito más seguro y eficiente para todos los ciudadanos.
Hacia una movilidad más eficiente: ¿qué se espera con los $9,2 billones?

Del sector destinado a movilidad, una parte importante se destinará a financiar proyectos que han sido identificados como prioritarios por la administración distrital. Entre ellos se destacan:
- Infraestructura vial estratégica: El Instituto de Desarrollo Urbano (IDU) tendrá asignados cerca de $2,4 billones dentro del presupuesto de movilidad. Esto permitirá entregar más de 80 proyectos viales. Entre ellos, 17 obras mejorarán corredores fundamentales para motocicletas y otros vehículos en 2026.
- Avance en transporte masivo: Habrá recursos para el desarrollo de la Primera Línea del Metro de Bogotá. También, se destinarán a mejoras en troncales de transporte masivo como la calle 13 y conexiones viales clave. Estos cambios beneficiarán miles de usuarios diariamente.
- Conectividad y seguridad vial: Se crearán espacios seguros para desplazamientos, intersecciones mejoradas y priorización de zonas de alto flujo vehicular. Estos cambios buscan reducir congestiones y siniestros. Este aspecto es especialmente relevante para motociclistas que transitan por la ciudad.
Además de estas inversiones físicas, el presupuesto busca promover una movilidad sostenible, segura y eficiente. Contempla estrategias de reducción de emisiones, mejoramiento del transporte público y promoción de medios alternativos.
¿Cuál sería finalmente la inversión?
La aprobación del Presupuesto Distrital de Bogotá para 2026, con un total de $40,4 billones, representa una hoja de ruta clara para enfrentar los desafíos de una ciudad en constante crecimiento. La asignación de más de $9 billones para movilidad es una señal contundente de que la administración y el Concejo Distrital han identificado este sector como una de las prioridades estratégicas. Este enfoque busca mejorar la calidad de vida de los habitantes, especialmente en una ciudad donde las motocicletas juegan un papel fundamental en la movilidad cotidiana.

Lea: ¡ATENCIÓN! Hay pista de lo que sería la nueva KTM RC450. ¿Qué sabemos?
La forma en que estos recursos sean implementados y monitoreados determinará si Bogotá logra avances significativos. Estos incluyen la reducción de congestión, la mejora de la seguridad vial y la modernización de su sistema de transporte. Como medio especializado en movilidad, en PubliMotos estaremos atentos a estos desarrollos. Te traeremos análisis continuos sobre cómo estos cambios se traducen en el día a día de tu viaje por la ciudad.
Les dejamos el siguiente video propio como recomendación:
Hecho por periodistas, con uso de IA
Actualidad
¿Una moto que vuela? Conoce la LEO Solo JetBike y su visión del futuro
La LEO Solo JetBike propone una nueva forma de movilidad aérea personal: un vehículo eléctrico estilo “moto voladora” capaz de despegar y volar a baja altitud gracias a 48 microjets sin hélices expuestas. En Publimotos te contamos cómo funciona, cuánto costará y cuándo podría estar disponible.
La idea de una moto que vuela ha sido durante décadas un concepto reservado para películas de ciencia ficción. Sin embargo, la industria aeronáutica y la movilidad eléctrica están alcanzando un punto en el que ese tipo de vehículos ya no es un sueño lejano. Uno de los proyectos que más atención está generando es la LEO Solo JetBike, un vehículo eVTOL personal desarrollado por la empresa estadounidense LEO Flight Corporation, con sede en Detroit.
El proyecto ha ganado atención mundial gracias a su apariencia futurista, su funcionamiento sin hélices expuestas y la promesa de permitir vuelo personal a baja altitud sin licencia de piloto, algo que podría revolucionar la movilidad recreativa y urbana.
En PubliMotos analizamos qué es realmente la JetBike y por qué podría convertirse en el vehículo más disruptivo de los próximos años.
¿Qué es la LEO Solo JetBike? Una nueva categoría entre moto y aeronave

Lea: ¿Una Honda con alma italiana? Ellaspede reimagina la moto CBX750 al estilo Ferrari
La LEO Solo JetBike es un vehículo eléctrico de despegue vertical (eVTOL), diseñado para funcionar como una mezcla entre motocicleta y aeronave ultraligera. A diferencia de otros eVTOL, no utiliza hélices visibles ni grandes rotores, sino 48 microjets eléctricos encapsulados distribuidos en su estructura.
Esta solución ofrece varias ventajas:
- No tiene hélices expuestas, lo que reduce riesgos durante despegue y aterrizaje.
- Su tamaño compacto permite que quepa en un garaje, como una moto normal.
- Es más silenciosa que un dron convencional de gran tamaño.
- Está pensada para uso recreativo y desplazamientos cortos.
La JetBike puede alcanzar hasta 15 pies (aprox. 4,5 metros) de altitud en modo de vuelo recreativo, según datos preliminares publicados por news.imotorbike.com.
Aunque la compañía prevé versiones más avanzadas capaces de volar a alturas y velocidades superiores, el modelo Solo JetBike está orientado a usos personales, rutas cortas y diversión aérea.
Más cerca de una moto que de un avión

El diseño es uno de los puntos más llamativos de la JetBike. Visualmente recuerda más a una moto futurista que a una aeronave. Su estructura está fabricada con materiales compuestos, principalmente fibra de carbono, para reducir peso y mejorar la resistencia.
El asiento, los mandos y la ergonomía son prácticamente los de una motocicleta, lo que facilita que un usuario experimentado en moto se familiarice rápido con la postura y la sensación de conducción.
¿Cómo despega esta moto?
Los 48 microjets se activan simultáneamente para elevar el vehículo de manera vertical. No hay alas. Sin rotores. No hay hélices. Esto convierte a la JetBike en uno de los eVTOL más singulares del mercado.
LEO Flight afirma que su sistema de microjets encapsulados permite un control estable y reduce el riesgo de accidentes típicos de aeronaves ligeras.
¿Qué tan rápido puede volar?

Aunque la JetBike aún no está en el mercado, hay datos preliminares divulgados por el fabricante:
- Velocidad estimada: entre 100 y 120 km/h en modalidad aérea.
- Autonomía: alrededor de 20 a 30 minutos de vuelo, dependiendo de la carga y condiciones.
- Altitud recreativa: máximo 15 ft (unos 4,5 metros).
- Peso: cerca de 140 kg.
Es importante destacar que estos datos corresponden a prototipos y estimaciones, pues la compañía aún está en fase de certificaciones y pruebas.
¿Cuánto costará y cuándo estará disponible?
La compañía ya habilitó una lista de reservas con un depósito reembolsable, lo que indica que el proyecto avanza.
El precio estimado ronda:
- $150.000 a $200.000 USD, dependiendo de las especificaciones finales. (Estamos hablando alrededor de $760´861.000 millones de pesos colombianos)

Amplía: Otra vez lo hace Yamaha. Hay nuevo lanzamiento menor a los 200 cc. Conózcala
No es un producto para el comprador promedio, sino para entusiastas de alta tecnología y pilotos recreativos. LEO Flight espera entregar las primeras unidades en una ventana cercana a 2027-2028, siempre y cuando las certificaciones avancen según lo previsto.
Todavía es un proyecto en desarrollo, con retos importantes como certificación, autonomía y adopción pública. Pero si LEO Flight cumple sus objetivos, podríamos estar ante el nacimiento de una nueva categoría: la moto voladora recreativa.
Les dejamos el siguiente video propio como recomendación:
Hecho por periodistas, con uso de IA
-
Actualidad6 días atras¡IMPACTANTE! TVS lanza una moto con un gran diseño que deja sin palabras
-
Actualidad6 días atras¿Revolución o locura? El casco que nadie esperaba y todos quieren probar
-
Actualidad6 días atrasOlvida todo lo que sabes sobre motos urbanas ¡esta 125 lo cambia todo!
-
Actualidad4 días atrasBMW prepara una Moto salvaje para 2026… Suzuki y Honda ya deberían estar preocupadas
-
Actualidad4 días atras¡Nadie quiere dejar de comprarlo! Este scooter supera 100.000 ventas y amenaza a la competencia
-
Actualidad4 días atrasLa nueva Harley X440 T oculta algo grande… y podría cambiarlo todo
-
Actualidad3 días atrasKawasaki se mete al ring, la moto KLE 500 apunta directo a BMW y Honda… y muchos ya hablan de comprarla
-
Actualidad3 días atrasLa nueva moto AKT TT 200 Rally se arma hasta los dientes, ahora sí podría destronar a Yamaha y Suzuki