Actualidad
Yamaha se reinventa: ¿realmente mejora la conducción?
Yamaha patenta un sistema de escape revolucionario que usa el flujo de gases para generar carga aerodinámica, reducir el levantamiento delantero y estabilizar la moto en curvas. Descubre la ingeniería detrás de esta audaz propuesta.

Durante décadas, la ecuación para mejorar el comportamiento dinámico de una moto ha tenido variables fijas: chasis más rígidos, suspensiones electrónicas, mapas de motor infinitos y, en la era moderna, alerones aerodinámicos cada vez más grandes. El tubo de escape, sin embargo, siempre fue el actor secundario, relegado a cumplir normativas de emisiones, reducir peso o afinar una sinfonía de decibelios.
Pero en Iwata piensan diferente. Yamaha cree que el escape puede ser una herramienta aerodinámica activa.
La marca de los diapasones ha registrado recientemente una serie de patentes en Japón que podrían cambiar las reglas del juego. No buscan más potencia bruta, sino utilizar la energía cinética de los gases de escape para alterar físicamente cómo se mueve la moto sobre el asfalto.
Ingeniería de flujo: el escape como propulsor vectorial
Las ilustraciones filtradas utilizan una humilde Yamaha MT-07 como banco de pruebas teórico, pero no nos engañemos: esta tecnología tiene el ADN de la alta competición (MotoGP o WSBK) y de las futuras superbikes.
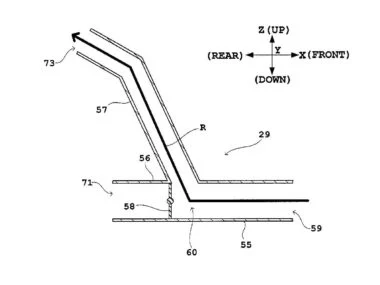
El sistema se basa en un complejo conjunto de válvulas de mariposa integradas en el colector. Su función no es restringir el sonido, sino redirigir el flujo de gases a alta velocidad hacia salidas específicas dependiendo de lo que la moto necesite en ese milisegundo: ¿Aceleración pura o estabilidad?

El fin de los ‘Wheelies’ indeseados
La primera aplicación de la patente ataca uno de los mayores enemigos de la aceleración: el levantamiento de la rueda delantera.
Tradicionalmente, la electrónica corta potencia para bajar la rueda. Yamaha propone una solución física. El sistema divide el escape en dos vías:
- Vía principal: Un conducto ancho orientado hacia atrás para máximo flujo en alta velocidad.
- Vía secundaria (Anti-Wheelie): Un conducto más estrecho, elevado y con inclinación ascendente.
Al forzar los gases por este conducto estrecho, se aumenta la velocidad de salida (efecto Venturi). Por su posición estratégica, este chorro de gas genera un momento de fuerza que ayuda a pivotar la moto sobre el eje trasero, empujando efectivamente el tren delantero hacia el suelo.

Es un sacrificio calculado: pierdes un poco de potencia máxima por la restricción, pero ganas la capacidad de abrir gas antes y con más fuerza sin que la moto se ponga por sombrero.
Asistencia en curva: física aplicada al vértice
Si la solución para la aceleración es ingeniosa, la propuesta para el paso por curva es fascinante. La segunda patente describe un sistema capaz de redirigir los gases hacia abajo o lateralmente cuando la moto está inclinada.
Lea: Estos son los nuevos cambios de la Yamaha XTZ 150
Imagina estar en el ápice de una curva, con la moto tumbada. El sistema dispara el flujo de escape hacia el exterior del viraje. Por el principio de acción y reacción, esto genera un micro-empuje que ayuda a cerrar la trazada y mantener la estabilidad, funcionando casi como un «propulsor lateral» invisible.
Yamaha incluso plantea una configuración con doble salida lateral, permitiendo que la moto elija hacia qué lado expulsar los gases según si la curva es a izquierdas o derechas.
¿La trampa perfecta para MotoGP?
Aquí es donde la historia se pone interesante para los puristas de la competición. Los reglamentos actuales de MotoGP y Superbikes son cada vez más estrictos con la aerodinámica externa (alerones, apéndices móviles, etc.).
Sin embargo, este sistema de Yamaha actúa sobre el fluido interno (gases de escape), no sobre el aire exterior. Técnicamente, no es un dispositivo aerodinámico móvil en el sentido tradicional del reglamento. Podría ser la «zona gris» perfecta para ganar esa décima de segundo crucial sin violar las normas de carenado.

Una idea que respira futuro
Aunque de momento son solo patentes, la idea de unificar el sistema «anti-wheelie» y la asistencia en curva en un solo escape demuestra que la ingeniería mecánica tradicional aún tiene ases bajo la manga.
Lea: Nueva KTM 390 Adventure R ya en Colombia, la llevamos a prueba y esto fue lo que pasó
Si Yamaha logra llevar esto a la producción o a la parrilla de salida, dejaremos de ver el escape como un simple tubo de metal para verlo como lo que realmente proponen: un componente activo de la maniobrabilidad de la moto.
Actualidad5 días atrasYamaha apuesta fuerte con la Stryker 2026, una moto custom que impone presencia
Actualidad5 días atrasHarley-Davidson presenta una moto deportiva extrema que cambia su historia
Actualidad4 días atrasTVS reescribe el mapa de las motos, ya vende más que Yamaha en el mundo
Actualidad3 días atrasSuzuki lo hace de nuevo. Presentan al mundo esta motocicleta
Actualidad4 días atrasHonda podría lanzar una moto pequeña de cuatro cilindros y los fanáticos están atentos
Actualidad3 días atrasHay cambios en la licencia de conducción en Colombia. Son radicales
Actualidad3 días atrasSe viene plan para bajar el SOAT a mitad de precio y acabar con el «negociazo» de grúas y patios
Actualidad3 días atrasEsta sería la nueva TVS deportiva que podría llegar a Colombia pronto





