Actualidad
Honda patenta el «copiloto invisible»: ¿evitará que choque?
Honda registra una patente revolucionaria: un dispositivo de control de giro que actúa sobre el manillar para evitar colisiones.

En el mundo del motociclismo, siempre hemos dicho que el mejor sistema de seguridad es el cerebro del piloto. Sin embargo, Honda parece estar decidida a instalar un «segundo cerebro» en nuestras máquinas. La firma japonesa, líder indiscutible en innovación, acaba de registrar ante la Organización Mundial de la Propiedad Intelectual (WIPO) una patente que suena a ciencia ficción. No obstante, está más cerca de lo que creemos: un dispositivo de control de giro asistido.
No se trata de un simple aviso sonoro o una luz en el tablero. Estamos hablando de una tecnología heredada de sus sistemas de asistencia en automóviles. Este dispositivo sería capaz de intervenir físicamente en la dirección de la moto para evitar un impacto.
¿Cómo funciona el «ángel de la guarda» de Honda?
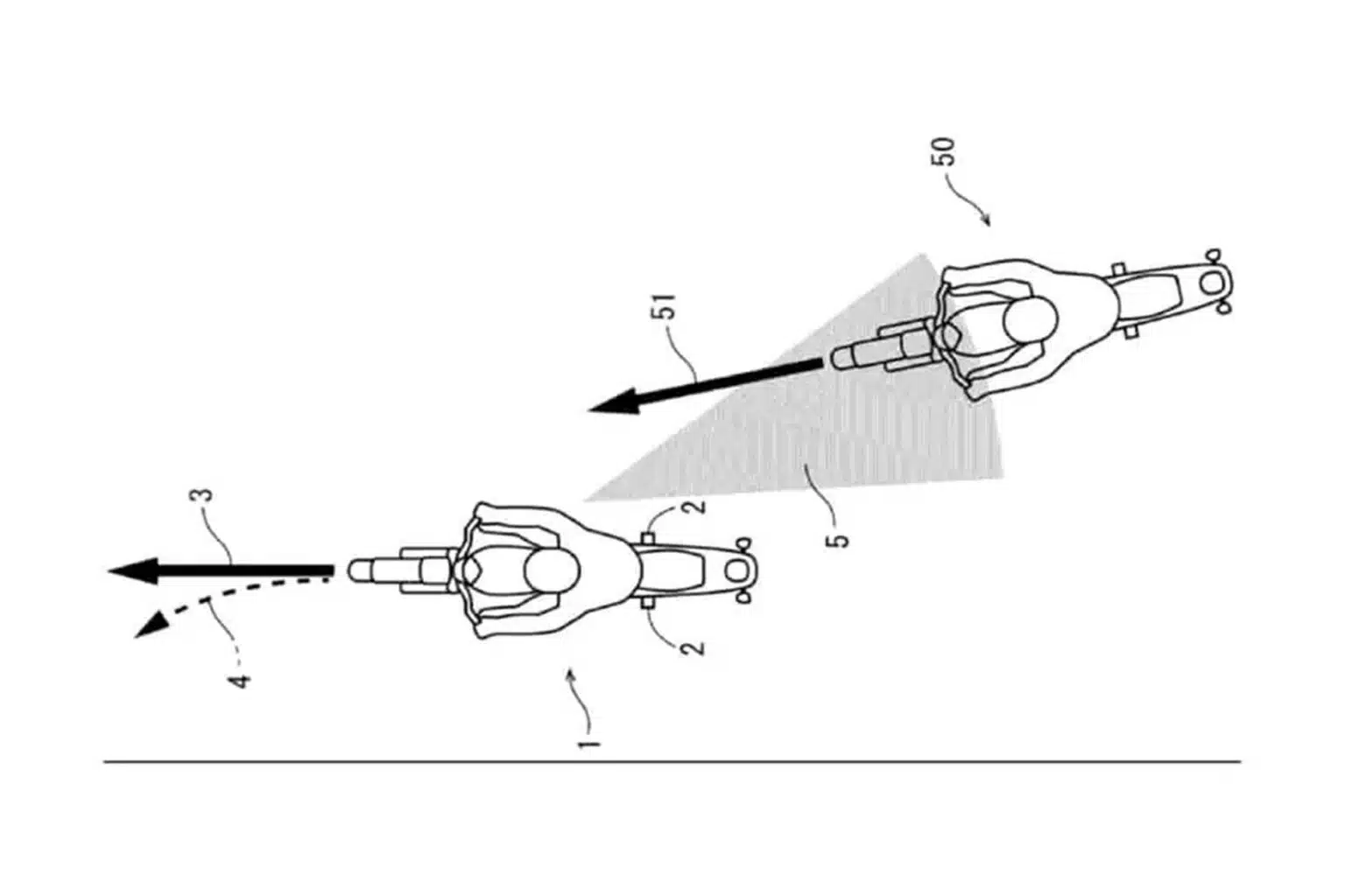
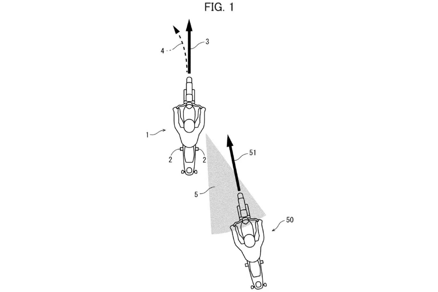
A diferencia de un carro, donde el volante solo gira sobre un eje, una motocicleta es un ecosistema complejo de equilibrio, grados de inclinación y física de masas. Honda lo sabe. Por eso, su patente describe un sistema capaz de ejecutar un control de giro único adaptado a las características de estabilidad de una moto.

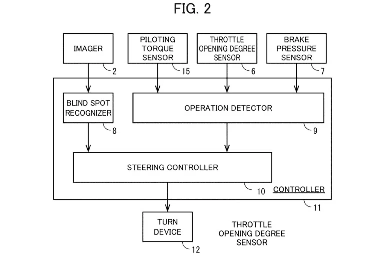
El sistema funciona como una red de inteligencia artificial sobre ruedas:
- Sensores y radares: Cámaras y radares perimetrales monitorean todo lo que ocurre alrededor.
- Detección de puntos ciegos inversa: Aquí está lo revolucionario. El sistema no solo le avisa si hay alguien escondido en su espejo. Además, detecta cuándo usted es el punto ciego para otro conductor, anticipándose al posible error del tercero.
- Asistencia activa: Si el radar detecta una colisión inminente y el piloto no reacciona (o reacciona de forma errática), el dispositivo aplica fuerza en el manillar para corregir la trayectoria. Esto se realiza de manera gradual.
Amplíe: ¿Pensabas comprar una moto BMW en 2026? Esto podría cambiarlo todo
Adiós a los movimientos bruscos
Uno de los mayores riesgos en una situación de pánico es el «manotazo» al manillar. Este movimiento brusco termina en un bloqueo de dirección o una caída por pérdida de equilibrio. La patente de Honda busca suavizar la reacción del piloto. Así se evita que los nervios tomen el control y guían la dirección hacia una zona segura.

El reto técnico: Mantener el equilibrio mientras la moto gira «sola» es el desafío más grande. Por eso, el sistema procesa en milisegundos el ángulo de inclinación y la velocidad. De esta manera, la intervención no termina siendo peor que el posible choque.
¿Seguridad extrema o falta de libertad?
Aquí es donde el debate se calienta en los foros y rodadas. Estamos entrando en una era de intromisión tecnológica sin precedentes. Ya tenemos ABS en curva, control de tracción y radares de proximidad. Ahora, que la moto «decida» hacia dónde girar el manillar es un terreno pantanoso para los puristas.
Amplíe: Yamaha lanza nuevos diseños por tiempo limitado
¿Queremos una moto que corrija nuestros movimientos? Para Honda, la respuesta es un rotundo sí. Esto es necesario siempre que eso signifique salvar vidas. Este sistema se suma a otras patentes recientes de la marca, como la asistencia contra vientos cruzados y la advertencia de cambio de carril. Todo esto configura lo que pronto podría ser una motocicleta autónoma en seguridad.

Honda no está jugando a los carritos. Está diseñando una red de seguridad que perdona los errores del piloto y de los demás conductores. Aunque para muchos esto parezca quitarle el alma a la conducción, la realidad es que la tecnología CBU (Completely Built Up) del futuro vendrá con ojos propios.
¿Usted le confiaría su vida a un manillar que decide por usted en un momento de peligro? ¿Es esta la evolución necesaria o estamos perdiendo la esencia de pilotar un «fierro»? ¡Déjenos su comentario, parcero, que este debate está para alquilar balcón!
Actualidad3 días atras¿Podrán circular motos con parrillero el 8 de marzo? Gobierno aclara la medida
Actualidad4 días atrasAprilia revela su nueva moto urbana estilo adventure con diseño llamativo
Actualidad1 día atrasHarley-Davidson presenta una moto deportiva extrema que cambia su historia
Actualidad1 día atrasYamaha apuesta fuerte con la Stryker 2026, una moto custom que impone presencia
Actualidad6 horas atrasTVS reescribe el mapa de las motos, ya vende más que Yamaha en el mundo
Actualidad3 horas atrasHonda podría lanzar una moto pequeña de cuatro cilindros y los fanáticos están atentos





